一、概述
1.1外觀
該試驗機主體結構為機、電分離式結構,左側為計算機控制顯示部分,右側為設備主體,整機結構大方,操作方便。具體如圖一所示:

圖一. 外觀圖
1.2 用途與特點
高速轉子摩擦磨損試驗機設備,用于常溫、高溫狀態下以流體潤滑、混合潤滑和干摩擦形式的轉子端面與止推面、轉子與軸承等試樣進行摩擦磨損性能的評定。可檢測壓縮機中金屬、工程塑料、陶瓷等新型材料的摩擦磨損性能,測定材料的抗磨性及材料匹配特性,在變負荷、轉速、溫度等各種參數情況下進行試驗。可以測定摩擦力矩,計算摩擦系數,記錄溫度-時間曲線、摩擦系數-時間曲線等。
1.3主要技術指標
序號 | 項目名稱 | 技術指標 |
1 | 試驗力加載范圍 | 1N~200N |
1.1 | 載荷加載控制精度(跳動) | ≤±1% |
1.2 | 載荷加載準確度 | ±1% |
1.3 | 試驗力顯示分辨率 | 0.01N |
2 | 摩擦力矩 | |
2.1 | 摩擦扭矩測量范圍 | 0-2N.m |
2.2 | 摩擦力示值相對誤差 | ±1% |
3 | 主軸轉速 | |
3.1 | 試驗轉速 | 100-15000r/min |
3.2 | 轉速示值相對誤差 | ±1%(轉速閉環控制) |
3.3 | 設備精度 | 同軸度≤0.002mm,垂直度≤0.002mm |
3.2 | 試樣安裝精度 | 同軸度≤0.005mm,垂直度≤0.005mm |
4 | 潤滑方式 | 循環潤滑、浸油潤滑 |
5 | 溫度控制范圍 | 室溫-200℃ |
6 | 溫度測量精度 | ≤±2℃ |
7 | 試驗機時間顯示與控制范圍 | 1~99999s或min |
8 | 試驗機轉數顯示與控制范圍 | 999999999 |
9 | 主機額定功率 | 3.75kW |
1.4試驗機的工作條件
1.在室溫10℃-35℃范圍內,相對濕度不大于80%;
2.正確安裝在穩固的基礎或工作臺上;
3.周圍無腐蝕性介質、無震動和干擾;
4.使用電源:三線四相電壓380V±10%;
5.電源電壓的波動范圍不應超過額定電壓的±10%;
6.試驗機電源應有可靠接地,頻率的波動不應超過額定頻率的2%;
二、試驗機機構介紹
2.1主機部分
高速轉子摩擦磨損試驗機設備包括試驗力加載系統、摩擦力測量系統、潤滑系統、溫度控制系統、主軸系統以及電氣控制系統等。
2.2主軸及其驅動系統
主軸電機選用中天高速精密電機。該系統電機的額定力矩為4.8N·m,額定轉速為18000r/min,最高轉速24000r/min,無級恒扭矩,高速精度為0.2%.該電機最大功率約3Kw,在主軸和電機上用高速聯軸器柔性連接,通過高速聯軸器把電機的功率及扭矩傳遞到主軸上.由于應用了閉環調速系統使其在轉速下具有高的傳動力矩,它完全改變了可控硅無級變速系統在低轉速下傳動力成倍遞減的特點。
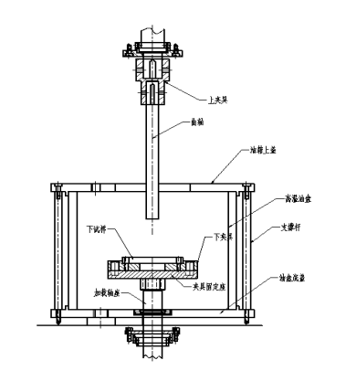
2.3摩擦副部分
該試驗機配有一種曲軸面和軸承內孔面接觸摩擦副(根據不同試樣尺寸可拓展)。
其中:
面面接觸摩擦副結構如圖所示;
參照圖紙安裝試樣,方可進行試驗。
注:試樣尺寸須嚴格按照圖紙要求加工!
2.4摩擦力矩測量部分
該試驗機摩擦力矩測量通過靜態扭矩傳感器直接測量,測量精確,穩定、可靠。試驗機試樣為盤面軸承軸心試樣(下試樣)和曲軸試樣(上試樣),盤面軸承軸心孔面為下試樣摩擦圓心孔面,曲軸外圓面為上試樣摩擦面,上試樣在下試樣內孔的旋轉,靜態扭矩傳感器直接采集摩擦扭矩。
2.5潤滑循環系統部分
潤滑循環系統部分分為油霧潤滑系統和試樣儲油箱循環系統,油霧潤滑系統是氣泵和潤滑油箱通過油管和噴油嘴給主軸內部的傳動軸承噴油潤滑,使主軸軸承提高潤滑性能和使用壽命:儲油箱循環系統是通過循環油箱給試樣油盒腔體內供油,在試樣油盒內部有加熱系統和測溫傳感器,保證了試驗過程中試樣旋轉所需要的試樣環境,循環油箱電機可通過電腦軟件控制。
三、試驗操作
3.1開機
◇首先連接好設備電源,合上位于主機右側的“主機電源”開關,輕按一下面板上的“電源開”按鈕。
◇ 然后按一下“啟動”按鈕,將計算機開啟。
◇ 待計算機開啟后,在屏幕桌面上找到“Test”圖標,雙擊進入程序,觀看各試驗參數顯示裝置是否正常。
◇保持預熱 20 分鐘,使主軸空運轉,觀察主軸旋轉方向,應為順時針,單擊轉速設定值窗口,彈出轉速設定對話框,在對話框中設定數值,使主軸轉速逐漸升高,在高轉速下運轉 10 分鐘。
3.2試驗前準備
◇ 確定試驗摩擦副形式,預先按圖紙要求加工好試樣。
◇ 確定試驗條件,如試驗力、轉速、溫度等。
◇ 準備好試樣及對應夾具。
◇ 根據試驗要求,對試樣進行清潔處理。
◇安裝好試樣,如需做高溫實驗,則設定好實驗所需的溫度,進行加熱。
3.3開始試驗
◇ 在測控軟件主頁面上,輸入試驗力、轉速、時間等參數。如圖:
設定好各參數,點擊“方案文件”,然后點擊“保存文件”,可保存本次試驗條件,方便以后試驗直接調取實驗條件。更改參數時,單擊各個區域設定值后面的文本框即可彈出參數輸入對話框。
試驗時間單位可選擇“時”“分”“秒”,只可在試驗開始之前選擇。勾選“預設時間”、“預設次數”、“停機扭矩”任何一項或多項,并輸入設定值,設備達到條件均會報警停機。
◇ 連接摩擦力接頭,單擊摩擦力矩單元的清零鍵,對摩擦力矩進行清零。
◇ 單擊“數據文件”的“新建”按鈕,循環次數自動清零,試驗從0開始;單擊開始鍵,開始試驗。設備首先加載并調整試驗力調整至預設試驗力,試樣分開,電機啟動,試驗循環進行。
◇ 試驗達到時設定試驗時間或設定次數或扭矩小于設定值時,設備應手動卸載試驗力并手動停機。
◇ 若要保存此次試驗數據,單擊數據導出,在數據導后自動彈出Excel表格
◇ 設備也可生成試驗報告具體操作步驟如下:
首先在數據報告中生成報表抬頭根據需要填寫所需內容,填寫完成后保存,
再點擊數據報告-報告導出即生成試驗報告如下
◇ 取下試樣,進行觀察、分析,此時可利用已測數據使用軟件處理試驗結果并打印試驗報告。
3.4結束試驗
◇ 卸載完成后,單擊主頁面上的退出按鈕,退出測控系統。
◇ 關閉計算機,按下面板上的“電源關”按鈕,關閉整機電源。至此,整個試驗過程結束!
※特別注意事項
◇每次使用設備完畢后,要及時清理設備腔體油,保證腔體內部整潔。
四、試驗機的拆箱、吊裝與安裝
4.1拆箱
收到貨物后,根據采購供貨協議,貴方可在我公司調試人員抵達現場后開箱或自行開箱。如若自行開箱,應先取出技術文件,然后根據產品裝箱單核對檢查下列信息:
◇收到的貨物是不是貴方訂購的產品?
◇產品及包裝是否有破損之處?
◇供貨附件是否有遺漏或重復之處?
◇外部裸露螺釘是否有松動或脫落?
◇是否有其他異常?
4.2搬運吊裝
◇ 本機在移位搬運時,可把設備兩側的4個裝飾螺堵卸掉,裝
上隨機附帶的4個起吊螺釘進行吊運。
◇ 吊運時,起吊繩纜要緊固牢靠、受力均勻,以免在運輸中設
備跌落,砸傷身體或損壞設備。
◇ 吊運選擇起吊設備(如叉車、電動葫蘆等)時,一定要確認
起吊設備滿足本機重量要求。
4.3安裝位置
◇ 本機應安裝在穩固堅實的水泥地面上。
水平度要求為0.5/1000。
◇ 本機背面距離墻壁應不小于0.8m,以利于檢修保養。
五、維護與保養
由于本機是機械、電器、微機控制緊密結合一起的典型產品,所以它具有工業設備和微電子裝置的雙重特點。本機使用環境的變化,如溫度、濕度等,以及電氣元器件老化等因素,可能會導致本機發生故障。因此,為使本產品能長期正常運行,在存儲和使用過程中應對本機進行日常檢查和定期的維護。



